¾ÅÓÎÀϸç

¾ÅÓÎÀϸç

¾ÅÓÎÀÏ¸ç¿Æ¼¼

  • »ù´¡ÉèÊ©Çå¾²

    »ù´¡ÉèÊ©Çå¾²
  • Êý¾ÝÇå¾²

    Êý¾ÝÇå¾²
  • ÔÆÅÌËãÇå¾²

    ÔÆÅÌËãÇå¾²
  • ¹¤Òµ»¥ÁªÍøÇå¾²

    ¹¤Òµ»¥ÁªÍøÇå¾²
  • ÎïÁªÍøÇå¾²

    ÎïÁªÍøÇå¾²
  • ÐÅÏ¢ÊÖÒÕÓ¦ÓÃÁ¢Òì

    ÐÅÏ¢ÊÖÒÕÓ¦ÓÃÁ¢Òì
  • ËùÓвúÆ·

    ËùÓвúÆ·
  • ËùÓнâ¾ö¼Æ»®

    ËùÓнâ¾ö¼Æ»®

»ù´¡ÉèÊ©Çå¾²


  • Õþ¸®

    Õþ¸®
  • ÔËÓªÉÌ

    ÔËÓªÉÌ
  • ½ðÈÚ

    ½ðÈÚ
  • ÄÜÔ´

    ÄÜÔ´
  • ½»Í¨

    ½»Í¨
  • ÆóÒµ

    ÆóÒµ
  • ¿Æ½ÌÎÄÎÀ

    ¿Æ½ÌÎÄÎÀ

  • ¾ÅÓÎÀϸçÔÆ ¾ÅÓÎÀϸçÔÆ
  • ¾ÅÓÎÀϸçÍþвÇ鱨ÖÐÐÄNTI ¾ÅÓÎÀϸçÍþвÇ鱨ÖÐÐÄNTI
  • TechWorldÊÖÒÕ¼ÎÄ껪 TechWorldÊÖÒÕ¼ÎÄ껪
  • ±±¾©¾ÅÓÎÀÏ¸ç¹«Òæ»ù½ð»á ±±¾©¾ÅÓÎÀÏ¸ç¹«Òæ»ù½ð»á
  • ÊÖÒÕ²©¿Í ÊÖÒÕ²©¿Í
  • Àֳɰ¸Àý Àֳɰ¸Àý

ÏàÖúͬ°éÉó²é¸ü¶à >

ÏàÖúͬ°é¶¯Ì¬

³ÉΪÏàÖúͬ°é

  • ¾ÅÓÎÀϸçÔÆ ¾ÅÓÎÀϸçÔÆ
  • ¾ÅÓÎÀϸçÍþвÇ鱨ÖÐÐÄNTI ¾ÅÓÎÀϸçÍþвÇ鱨ÖÐÐÄNTI
  • TechWorldÊÖÒÕ¼ÎÄ껪 TechWorldÊÖÒÕ¼ÎÄ껪
  • ±±¾©¾ÅÓÎÀÏ¸ç¹«Òæ»ù½ð»á ±±¾©¾ÅÓÎÀÏ¸ç¹«Òæ»ù½ð»á
  • ÊÖÒÕ²©¿Í ÊÖÒÕ²©¿Í
  • Àֳɰ¸Àý Àֳɰ¸Àý

ÊÖÒÕÖ§³ÖÉó²é¸ü¶à >

²úÆ·Ö§³Ö

  • ¾ÅÓÎÀϸçÔÆ ¾ÅÓÎÀϸçÔÆ
  • ¾ÅÓÎÀϸçÍþвÇ鱨ÖÐÐÄNTI ¾ÅÓÎÀϸçÍþвÇ鱨ÖÐÐÄNTI
  • TechWorldÊÖÒÕ¼ÎÄ껪 TechWorldÊÖÒÕ¼ÎÄ껪
  • ±±¾©¾ÅÓÎÀÏ¸ç¹«Òæ»ù½ð»á ±±¾©¾ÅÓÎÀÏ¸ç¹«Òæ»ù½ð»á
  • ÊÖÒÕ²©¿Í ÊÖÒÕ²©¿Í
  • Àֳɰ¸Àý Àֳɰ¸Àý

·µ»ØÁбí

¡¸Îó²îͨ¸æ¡¹Jenkins²å¼þ¶à¸öÎó²î

2020-05-08

 

Îó²î¸ÅÊö

5ÔÂ6ÈÕ £¬Jenkins¹Ù·½Ðû²¼Ç徲ͨ¸æÐÞ¸´²å¼þÖеÄ9¸öÎó²î £¬ÓÐ5¸ö²å¼þÊܵ½Ó°Ïì¡£ÆäÖÐSCM Filter Jervis²å¼þ±£´æÔ¶³Ì´úÂëÖ´ÐÐÎó²î£¨CVE-2020-2189£© £¬¹Ù·½¶¨¼¶Îª¸ßΣ¡£ÓÉÓÚSCM Filter Jervis²å¼þĬÈϲ»ÉèÖÃYAMLÆÊÎöÆ÷ £¬µ¼ÖÂÓû§¿ÉÒÔʹÓùýÂËÆ÷ÉèÖÃÏîÄ¿ £¬Ò²¿ÉÒÔ²Ù×÷SCMÒÑ´æ´¢ÉèÖùýµÄÏîÄ¿ÄÚÈÝ¡£Credentials Binding ²å¼þ±£´æÁ½¸öƾ֤й¶Îó²î£¨CVE-2020-2181¡¢CVE-2020-2182£© £¬Copy Artifact ²å¼þ±£´æÈ¨ÏÞУÑé²»µ±Îó²î£¨CVE-2020-2183£© £¬CVS ²å¼þµÄ¿çÕ¾ÇëÇóαÔìÎó²î£¨CVE-2020-2184£©¼°Amazon EC2 ²å¼þÖеÄ4 ¸öÎó²î£¨CVE-2020-2185¡¢CVE-2020-2186¡¢CVE-2020-2187¡¢CVE-2020-2188£©¡£

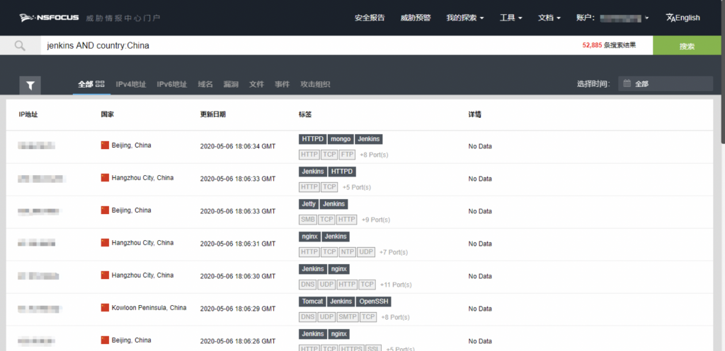
JenkinsÊÇÒ»¿î»ùÓÚJava¿ª·¢µÄ¿ªÔ´ÏîÄ¿ £¬ÓÃÓÚÒ»Á¬¼¯³ÉºÍÒ»Á¬½»¸¶µÄ×Ô¶¯»¯ÖÐÐļþ £¬ÊÇ¿ª·¢Àú³ÌÖг£ÓõIJúÆ· £¬À´×Ô¾ÅÓÎÀÏ¸ç¿Æ¼¼ÍþвÇ鱨µÄÊý¾Ý £¬ÓÐ5Íò¶àJenkins·þÎñ¿ª·ÅÔÚ¹«Íø¡£Îª°ü¹ÜJenkins·þÎñÆ÷µÄÇå¾² £¬½¨ÒéÏà¹ØÓû§½«ÊÜÓ°ÏìµÄJenkins²å¼þÉý¼¶ÖÁÇå¾²°æ±¾¡£

¾ÅÓÎÀϸ硤(Öйú)¾ãÀÖ²¿¹Ù·½ÍøÕ¾

²Î¿¼Á´½Ó£º

https://www.jenkins.io/security/advisory/2020-05-06/

Ó°Ïì¹æÄ£

ÊÜÓ°Ïì²å¼þ°æ±¾

  • Amazon EC2 Plugin <= 1.50.1
  • Copy Artifact Plugin <= 1.43.1
  • Credentials Binding Plugin <= 1.22
  • CVS Plugin <= 2.15
  • SCM Filter Jervis Plugin <= 0.2.1

²»ÊÜÓ°Ïì²å¼þ°æ±¾

  • Amazon EC2 Plugin = 1.50.2
  • Copy Artifact Plugin = 1.44
  • Credentials Binding Plugin = 1.23
  • CVS Plugin = 2.16
  • SCM Filter Jervis Plugin = 0.3

Îó²î¼ì²â

°æ±¾¼ì²â

Óû§¿Éͨ¹ýÉó²éÄ¿½ñʹÓõIJå¼þ°æ±¾ £¬¶Ô·þÎñÊÇ·ñÊÜ´Ë´ÎÎó²îÓ°Ïì¾ÙÐÐÅŲé¡£

µã»÷“Manage Jenkins”½øÈëÖÎÀíÄ£¿é £¬Ñ¡Ôñ“Manage Plugins”ÖÎÀí²å¼þ¡£

¾ÅÓÎÀϸ硤(Öйú)¾ãÀÖ²¿¹Ù·½ÍøÕ¾

µã»÷“installed”¼´¿É¶ÔÄ¿½ñÒÑ×°ÖõIJå¼þ°æ±¾¾ÙÐÐÉó²é¡£

¾ÅÓÎÀϸ硤(Öйú)¾ãÀÖ²¿¹Ù·½ÍøÕ¾

ÈôÊÇÄ¿½ñµÄ²å¼þ°æ±¾ÔÚÊÜÓ°Ïì¹æÄ£ÄÚ £¬Ôò¿ÉÄܱ£´æÇ徲Σº¦ £¬Ç뾡¿ì½ÓÄÉ·À»¤²½·¥¡£

Îó²î·À»¤

ÏÖÔÚJenkins¹Ù·½ÒѾ­Õë¶Ô´Ë´ÎµÄÎó²îÐû²¼ÁËеIJå¼þ°æ±¾ £¬ÇëÏà¹ØÓû§¾¡¿ìÉý¼¶ÊÜÓ°ÏìµÄ²å¼þÖÁÇå¾²°æ±¾¾ÙÐзÀ»¤ £¬²Ù×÷°ì·¨ÈçÏ£º

µã»÷“Manage Jenkins”->“Manage Plugins” £¬½øÈë²å¼þÖÎÀí½çÃæ¡£

¾ÅÓÎÀϸ硤(Öйú)¾ãÀÖ²¿¹Ù·½ÍøÕ¾

Ñ¡ÔñÐèÒªÉý¼¶µÄ²å¼þ £¬µã»÷“Download now and install after restart”¾ÙÐиüвÙ×÷¡£

¾ÅÓÎÀϸ硤(Öйú)¾ãÀÖ²¿¹Ù·½ÍøÕ¾

?

ÄúµÄÁªÏµ·½·¨

*ÐÕÃû
*µ¥Î»Ãû³Æ
*ÁªÏµ·½·¨
*ÑéÖ¤Âë ¾ÅÓÎÀϸ硤(Öйú)¾ãÀÖ²¿¹Ù·½ÍøÕ¾
Ìá½»µ½ÓÊÏä

¹ºÖÃÈÈÏß

  • ¹ºÖÃ×Éѯ:

    400-818-6868-1

Ìá½»ÏîÄ¿ÐèÇó

½Ó´ý¼ÓÈë¾ÅÓÎÀÏ¸ç¿Æ¼¼ £¬³ÉΪÎÒÃǵÄÏàÖúͬ°é£¡
  • *ÇëÐÎòÄúµÄÐèÇó
  • *×îÖÕ¿Í»§Ãû³Æ
  • *ÏîÄ¿Ãû³Æ
  • Äú¸ÐÐËȤµÄ²úÆ·
  • ÏîĿԤËã
ÄúµÄÁªÏµ·½·¨
  • *ÐÕÃû
  • *ÁªÏµµç»°
  • *ÓÊÏä
  • *Ö°Îñ
  • *¹«Ë¾
  • *¶¼»á
  • *ÐÐÒµ
  • *ÑéÖ¤Âë ¾ÅÓÎÀϸ硤(Öйú)¾ãÀÖ²¿¹Ù·½ÍøÕ¾
  • Ìá½»µ½ÓÊÏä
¾ÅÓÎÀϸ硤(Öйú)¾ãÀÖ²¿¹Ù·½ÍøÕ¾
¾ÅÓÎÀϸ硤(Öйú)¾ãÀÖ²¿¹Ù·½ÍøÕ¾

·þÎñÖ§³Ö

ÖÇÄܿͷþ
ÖÇÄܿͷþ
¹ºÖÃ/ÊÛºóÊÖÒÕÎÊÌâ
Ã˹ܼÒ-ÊÛºó·þÎñϵͳ
Ã˹ܼÒ-ÊÛºó·þÎñϵͳ
ÔÚÏßÌáµ¥|ÖÇÄÜÎÊ´ð|֪ʶ¿â
Ö§³ÖÈÈÏß
Ö§³ÖÈÈÏß
400-818-6868
¾ÅÓÎÀÏ¸ç¿Æ¼¼ÉçÇø
¾ÅÓÎÀÏ¸ç¿Æ¼¼ÉçÇø
×ÊÁÏÏÂÔØ|ÔÚÏßÎÊ´ð|ÊÖÒÕ½»Á÷

? 2025 NSFOCUS ¾ÅÓÎÀÏ¸ç¿Æ¼¼ www.nsfocus.com All Rights Reserved . ¾©¹«Íø°²±¸ 11010802021605ºÅ ¾©ICP±¸14004349ºÅ ¾©ICPÖ¤110355ºÅ

ÍøÕ¾µØÍ¼